Mexican Crazy Lace is known as the "Laughter Stone," and is believed to foster joy, optimism, and emotional stability.
Photos by Smithsonianmag.com
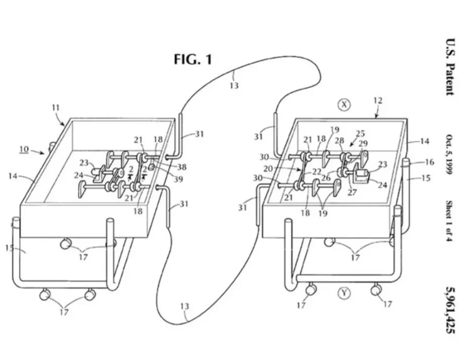
Growing up in the Bronx, Dr. Tahira Reid Smith was encouraged creatively and recognized early for her talent in math. As an engineering student at Rensselaer Polytechnic Institute, she revisited an idea that was first imagined in third grade—an automatic Double‑Dutch jump rope machine—and, with the support of her mentor, Professor Burt Swersey, it was turned into a working invention backed by two national grants.
Her machine earned widespread attention. Tahira received patents in 1999 and 2003, appeared on NBC’s Today Show, was featured in children’s books, and even a New York State 4th‑grade exam, which inspired young inventors across the country.
Tahira went on to earn her bachelor’s and master’s degrees from RPI and her PhD from the University of Michigan, and today, Dr. Tahira Reid Smith, is an Associate Professor of Mechanical Engineering at Purdue University and Director of the REID Lab, where she explores product design, decision‑making, behavioral psychology, and how human judgment shapes innovation.
Her journey—from a childhood idea to patented inventions and a leading research career—highlights the creativity and brilliance of Black innovators shaping the future of engineering. SALUTE!!!
Double Dutch is a handcrafted piece of jewelry made with 10mm Mexican Crazy Lace Agate.
The perfect piece to complement any outfit.
Growing up in the Bronx, Dr. Tahira Reid Smith was encouraged creatively and recognized early for her talent in math. As an engineering student at Rensselaer Polytechnic Institute, she revisited an idea that was first imagined in third grade—an automatic Double‑Dutch jump rope machine—and, with the support of her mentor, Professor Burt Swersey, it was turned into a working invention backed by two national grants.
Her machine earned widespread attention. Tahira received patents in 1999 and 2003, appeared on NBC’s Today Show, was featured in children’s books, and even a New York State 4th‑grade exam, which inspired young inventors across the country.
Tahira went on to earn her bachelor’s and master’s degrees from RPI and her PhD from the University of Michigan, and today, Dr. Tahira Reid Smith, is an Associate Professor of Mechanical Engineering at Purdue University and Director of the REID Lab, where she explores product design, decision‑making, behavioral psychology, and how human judgment shapes innovation.
Her journey—from a childhood idea to patented inventions and a leading research career—highlights the creativity and brilliance of Black innovators shaping the future of engineering. SALUTE!!!
Double Dutch is a handcrafted piece of jewelry made with 10mm Mexican Crazy Lace Agate.
The perfect piece to complement any outfit.
Mexican Crazy Lace is known as the "Laughter Stone," and is believed to foster joy, optimism, and emotional stability.
Photos by Smithsonianmag.com